#CUFC
-
Tuesday January 6, 2015 - 10:04
@abexlumberg how do you judge your listener figures? I listen to @podcaststartup , but not via iTunes (Use Pocketcasts by @shiftyjelly )
β€οΈ 0 | π 0
Wednesday January 7, 2015 - 22:00
RT @iamdevloper : Pushed a sample app to Heroku and Facebook tried to acquire it.
What a world we live in.
β€οΈ 0 | π 0
Wednesday January 7, 2015 - 22:04
In reply to: @anthonydavies @anthonydavies are you sure that’s @apathytastic ? He’s not on a bike!
β€οΈ 1 | π 0
Thursday January 8, 2015 - 07:11
RT @kowalshki : Nice work from Banksy #JeSuisCharlie
β€οΈ 0 | π 0
Thursday January 8, 2015 - 07:15
RT @wblau : Berlin’s daily newspaper BZ tomorrow: RT @PeterHuth : BZ est Charlie
β€οΈ 0 | π 0
Thursday January 8, 2015 - 07:15
RT @LandonRoss : Tweet the actual covers instead of the mere #JeSuisCharlie. They are, after all, what the bullies canβt handle.
β€οΈ 0 | π 0
Thursday January 8, 2015 - 07:51
In reply to: @candeira @candeira @doctorow @TheStrangeCo I’m with you. Don’t take minutes to start, battery lasts a week, call quality is excellent. Plus snake!
β€οΈ 0 | π 0
Thursday January 8, 2015 - 08:12
RT @Ionicframework : In this video, our own @mhartington talks about remote debugging with Ionic and Crosswalk: cc: @β¦
http://youtu.be/57hsxvCrBdEyoutu.be β€οΈ 0 | π 0
Thursday January 8, 2015 - 08:19
It’s official! @stephenfry has right to offend. Where do I apply?
β€οΈ 0 | π 0
Thursday January 8, 2015 - 08:20
RT @happybirthtime : Happy Birthtime to babe reminding DAVID BOWIE! 45 today! Happy Birthtime Boney! Holding Out For a Hero!
β€οΈ 0 | π 0
Thursday January 8, 2015 - 11:16
Why ‘usable’ is not something we should be striving for in our applications.
https://medium.com/@toychicken/better-than-usable-bcfd87b52608?source=tw-892bcd376495-1420715712240medium.com β€οΈ 1 | π 0
Thursday January 8, 2015 - 12:11
@DoIlum not sure what you’re referring to… I’ve gone on a bit of a twitter flurry today.
β€οΈ 0 | π 0
Thursday January 8, 2015 - 12:12
RT @jaffathecake : The future of JS is great: Destructuring & defaults make optional args really simple
β€οΈ 0 | π 0
Thursday January 8, 2015 - 12:17
@DoIlum Ah - first one is roughly “100 lashes if you’re not dying of laughter!”
β€οΈ 0 | π 0
Thursday January 8, 2015 - 12:19
@DoIlum next is approx “Muhammad overwhelmed by fundamentalists”
β€οΈ 0 | π 0
Thursday January 8, 2015 - 12:20
@DoIlum speech bubble says “It’s hard to be loved by idiots”
β€οΈ 0 | π 0
Thursday January 8, 2015 - 12:22
@DoIlum last one, I think is like “Don’t laugh” or maybe “Must not mock”… all clumsily translated with my rusty French and Google.
β€οΈ 0 | π 0
Friday January 9, 2015 - 09:45
Another great insight from @alanklement on why UX personas are not about product design, but controlling engineers!
https://medium.com/the-job-to-be-done/uncovering-why-designers-like-personas-2c45ee8621c1medium.com β€οΈ 1 | π 0
Friday January 9, 2015 - 19:43
In reply to: @HE_VALENCIA @HE_VALENCIA was trying to think of something that would prove you wrong, but I can’t. The GameCube was brilliant.
β€οΈ 0 | π 0
Saturday January 10, 2015 - 23:04
THE BEST is listening to sleepbot, on my raspberry pi based Sonos-beater. winnin… #super
https://super.me/p/qSHjsuper.me β€οΈ 0 | π 0
Monday January 12, 2015 - 10:13
RT @BrutalHouse : British Shopping Centres
by Wilfred Burns / 1959
β€οΈ 0 | π 0
Monday January 12, 2015 - 10:26
RT @keeptheziggurat : DEATH NOTICE & WAKE (11am, Sat 31 Jan 2015) - DEATH NOTICE We are sorry to announce the premature death of…
β€οΈ 0 | π 0
Tuesday January 13, 2015 - 16:41
@DoIlum Tudors would do brickwork ‘diapers’ in an early form. Started as way to use burnt bricks, then became fashionable. See Fulham palace
β€οΈ 0 | π 0
Tuesday January 13, 2015 - 16:43
@DoIlum but no more expressionism than renaissance painting is to c19th expressionism. So you’re still good :)
β€οΈ 0 | π 0
Tuesday January 13, 2015 - 17:00
@DoIlum ah, I see, I guess closest is probably alms houses, but probably not strictly considered community housing?
β€οΈ 0 | π 0
Tuesday January 13, 2015 - 23:26
RT @guardian : Cameron wants to ban encryption β he can say goodbye to digital Britain
http://trib.al/s0Aymr2trib.al β€οΈ 0 | π 0
Wednesday January 14, 2015 - 07:24
In reply to: @apathytastic @apathytastic you should check out other @sandwich video product demos, they’re usually pretty awesome.
β€οΈ 0 | π 0
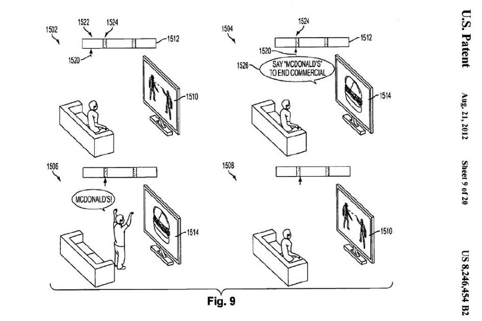
Thursday January 15, 2015 - 10:52
Another patent killing a great product? Another reason to hate them.
http://www.bloomberg.com/news/2015-01-13/here-s-the-patent-apple-could-use-to-go-after-gopro.htmlwww.bloomberg.com β€οΈ 0 | π 0
Monday January 19, 2015 - 10:05
@mattpovey this is what mechanical Turk is for :)
β€οΈ 0 | π 0
Tuesday January 20, 2015 - 08:32
In reply to: @brianleroux @brianleroux @jeresig I’m sure there’s something not quite right… brilliant!
β€οΈ 0 | π 0
Tuesday January 20, 2015 - 08:38
In reply to: @AOwenLDN @AOwenLDN I’ve got two. You never know when you might have angles that need grinding.
β€οΈ 1 | π 0
Tuesday January 20, 2015 - 16:01
RT @brucel : Remember, It’s not “scope creep”. It’s just an infinitely scrolling spec. Feels much cooler now.
β€οΈ 0 | π 0
Wednesday January 21, 2015 - 16:07
If I see another Shoreditch Cafe Menu with prices as 6.5 instead of Β£6.50, I’m going to burn the place down. Or pay in Turkish Lira.
β€οΈ 1 | π 0
Thursday January 22, 2015 - 08:01
RT @Glinner : Everyone who’s anyone is celebrating the return of Page 3!
β€οΈ 0 | π 0
Thursday January 22, 2015 - 08:03
RT @brucel : Oh god, BBC news just outed me as part of an international conspiracy to make Brazilian schoolgirls cry
http://www.bbc.co.uk/news/blogs-trending-30904601www.bbc.co.uk β€οΈ 0 | π 0
Thursday January 22, 2015 - 12:31
RT @Britishgaming : I will never be truly happy until we are living in this hilarious dystopia
β€οΈ 0 | π 0
Friday January 23, 2015 - 07:29
RT @tavisrudd : Ada Lovelace on the pains of dealing with mutable variables and state
β€οΈ 0 | π 0
Friday January 23, 2015 - 07:29
RT @jeresig : If you’ve watched Amazon’s ‘The Man in the High Castle’ (and you should!) this survey tells them to make it:
β€οΈ 0 | π 0
Friday January 23, 2015 - 07:41
RT @kalebhorton : I’m going high concept. Buckle up. Here we go. Clint Eastwood’s version of Superman.
β€οΈ 0 | π 0
Friday January 23, 2015 - 11:42
Ever got stuck with blogger’s block? Try - it’ll help you with, you know, what to write. Great work @robfitz !
http://whattowrite.org/whattowrite.org β€οΈ 0 | π 0
Friday January 23, 2015 - 22:20
RT @blackpigsweets : Manchester United players make in a year what Cambridge United FC as a club would turnover in 151 years. #CUFC
β€οΈ 0 | π 0
Friday January 23, 2015 - 22:21
RT @BBCSport : FT: Cambridge Utd 0-0 Manchester Utd. U’s earn replay at Old Trafford with hard-fought draw:
http://bbc.in/1zD5e8Nbbc.in β€οΈ 0 | π 0
Friday January 23, 2015 - 22:22
In reply to: @BigB0bbyT @BigB0bbyT gutted. Was just listening to ’thru metamorphic rocks’ this afternoon.
β€οΈ 1 | π 0
Friday January 23, 2015 - 22:23
RT @TideLineArt : Anyone know Elise Torbergsen from Harstad Norway? Found her message in a bottle in Greenwich.Wd love to hear from her httpβ¦
β€οΈ 0 | π 0
Friday January 23, 2015 - 22:25
RT @JavaScriptDaily : Elevator Saga is a game where you program an elevator system in JavaScript: (this is fun) http:β¦
http://play.elevatorsaga.com/play.elevatorsaga.com β€οΈ 0 | π 0
Friday January 23, 2015 - 22:26
RT @iamdevloper : βI AM GROOTβ.
A phrase that makes more sense than the entirety of the Angular.js docs.
β€οΈ 0 | π 0
Friday January 23, 2015 - 22:28
RT @phildesignart : Someone asked me to draw a competition where there is no winner. This is my answer.
β€οΈ 0 | π 0
Sunday January 25, 2015 - 08:49
RT @PennyRed : Sspace company Elon Musk is naming robot support vessels after Culture ships, in honour of Ian M Banks.
β€οΈ 0 | π 0
Monday January 26, 2015 - 09:55
@DoIlum - you + these :)
http://youtu.be/ssT4YVTNAQ4?list=PLSM1HuwZomMjRjHtgi4tnt_M40lRFsvTKyoutu.be β€οΈ 0 | π 0
Monday January 26, 2015 - 12:05
@DoIlum It’s how they talk in financial institutions. Any group’s jargon is exclusive, but journo’s jobs is to tell the whole story.
β€οΈ 0 | π 0
Monday January 26, 2015 - 13:20
@DoIlum If you were feeling charitable, it might just be laziness.
β€οΈ 0 | π 0
Monday January 26, 2015 - 17:00
In reply to: @PeteRanceCamera @PeteRanceCamera try clicking this link on your tablet or smartphone. Should work like a charm :)
https://www.onthemarket.com/www.onthemarket.com β€οΈ 0 | π 0
Tuesday January 27, 2015 - 07:45
RT @TomRaftery : LOL! @SciencePorn : Paradox
/twitter/ex-twitter/?xtwitlink=https://twitter.com/SciencePorn/status/559971320369516544/photo/1 β€οΈ 0 | π 0
Tuesday January 27, 2015 - 07:48
RT @brucel : 3 hours sleep. My subconscious is such a fucking idiot. Can’t believe I forgot how to speak French, yet give that twat brainrooβ¦
β€οΈ 0 | π 0
Tuesday January 27, 2015 - 07:48
RT @doctorow : Academies (charter schools) are a sleight-of-hand con job -
http://tmblr.co/ZUhJRs1bne3Getmblr.co β€οΈ 0 | π 0
Tuesday January 27, 2015 - 08:16
RT @MoscaMaurer : Congrats #NYC, you wiped out subway graffiti and replaced it with ads for a reality show about street art
β€οΈ 0 | π 0
Wednesday January 28, 2015 - 22:01
“ @junayed_ : The #EDL discuss whether ITV logo looks a little bit too Islamic
(via @edlnews) err, joined up writing?
/twitter/ex-twitter/?xtwitlink=https://twitter.com/junayed_/status/473870704392536065/photo/1 β€οΈ 0 | π 0
Thursday January 29, 2015 - 23:21
@DoIlum “ @Furmadamadam : Aldo Loris Rossi, Social Services for Workers in the Port of Naples
β€οΈ 0 | π 0
Thursday January 29, 2015 - 23:24
@DoIlum they sense many things, but choose only to exploit weakness and tiredness. I have both in abundance mostly because of baby. Catch 22
β€οΈ 0 | π 0
Friday January 30, 2015 - 07:50
@DoIlum who came up with ‘Toddler’? They don’t toddle, they destroy whilst holding your heart in their sticky hands. No good words for this.
β€οΈ 0 | π 0
Friday January 30, 2015 - 14:46
@London_Pride just gave us a hamper! Awesome! #DropOfPride - let the @niceagency feeding frenzy commence
/twitter/ex-twitter/?xtwitlink=https://twitter.com/toychicken/status/561171622527512576/photo/1 β€οΈ 1 | π 0
Cover image: